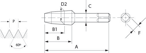
NPT

MACHO PARA TUBOS
MÉTRICA NPT

NORMA ANSI
REF: 108/A
Rosca Americana Cônica 55° Para Tubos - Para roscas com materiais de vedação.