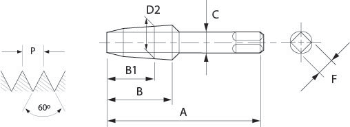
NPTF

MACHO PARA TUBOS
MÉTRICA NPTF

NORMA ANSI
REF: 108/F
Para roscas sem materiais de vedação